
A new patent granted to Sony allows livestream spectators to vote or pay to remove players from games.
The patent is officially titled “Spectators Vote to Bench Players in a Video Game”. You can view the official abstract for the United States Patent here.
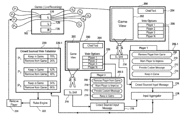
In addition to allowing viewers to vote players out of a game, spectators can also use money to pay for the removal of players. The patented system also grants viewers the ability to send custom messages. Specifications in the patent state that custom messages include feedback or warnings about a player’s performance.
Additional details regarding the removal system require voting to reach a certain threshold in order to bench players. Sony suggests that to remove a player, at least 60 percent of viewers need to vote to bench. Sony also plans to implement a weighting system. Spectators with higher game levels, statistics and accomplishments will have a larger say in votes.

The new feature follows Sony’s trend to become more involved in eSports. The increased popularity of livestreaming and eSports peaked Sony’s interest to gain a foothold within that industry. In their effort, the company also acquired the Evolution Championship Series earlier this year.
The patent cites Twitch as an example of how people watch video game livestreams. As of now, however, there is no word on whether Twitch or any other streaming platform will implement Sony’s system.
Concerns amongst the community
Sony states the “Spectators Vote to Bench Players in a Video Game” patent will enhance the viewing experience on livestream platforms. Although the intention is to make viewing livestreams more interactive, some people cite how easily it can be abused. Allowing livestream spectators to vote players out of games opens the door for trolls to vote people out for no reason.
In addition, a number of Twitch streamers have a history of dealing with hate raids. In these raids, a large number of trolls flood the chats with messages aimed to bully the streamers. If implemented by Sony, this new feature could be further abused and increase toxicity.
Until streaming services implement the patent, however, we will not fully know the true consequences. What do you think? Do you agree with Sony that this feature enhances the viewing experience? Or are you cautious of the nefarious uses trolls may find for it? Let us know below!
Via Eurogamer